一、產品簡介:
ET-2型稱重傳感器,結構緊湊、安裝方便, 膠封和焊接密封結構,防護性好,在制造 機電結合秤、吊鉤秤、料斗秤及在水泥廠的配料稱中獲得廣泛的應用。
二、技術指標:
|
量程 |
0.1~30t |
輸入電阻 |
710±15Ω |
|
靈敏度 |
2.0±0.010 mV/V |
輸出電阻 |
650±5Ω |
|
非線性 /滯后/重復性 |
± 0.02%FS |
絕緣電阻 |
≥ 5000 MΩ |
|
蠕 變 |
± 0.03%FS |
供橋電壓 |
10(DC/AC) V |
|
零點輸出 |
± 1.00%FS |
工作溫度 |
- 20~+60℃ |
|
零點溫度影響 |
± 0.03%FS/10℃ |
安全過載 |
120%FS |
|
輸出溫度影響 |
± 0.03%FS/10℃ |
材質 |
合金鋼 |
|
接線方式 |
輸入:紅(+)黑(-) 輸出:綠(+) 白(-) |
||
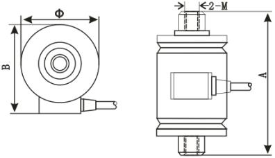
三、外形尺寸:

|
量程 t |
尺寸: mm |
||||||
|
0.1-1.0 |
2-3 |
5-7 |
10 |
15 |
20 |
30 |
|
|
A |
104.0 |
120.0 |
130.0 |
156.0 |
170.0 |
190.0 |
230.0 |
|
B |
40.0 |
45.5 |
46.0 |
77.5 |
77.5 |
82.0 |
85.0 |
|
Ф |
56.0 |
65.0 |
65.0 |
101.0 |
101.0 |
110.0 |
116.0 |
|
M |
M16*1.5 |
M24*2 |
M24*2 |
M33*2 |
M36*3 |
M42*3 |
M45*3 |





